Normalde kapalı 6 bar
 |
 |
|
1/2”….2” |
DN65 – DN80 – DN100 |
Gaz dedektörüne bağlanarak alarm durumunda gaz akışını keser ve ortam güvenliğini sağlar. Alarm durumu ortadan kaldırıldıktan sonra cihaz el ile tekrar kurulmalıdır.Cihazı tekrar devreye almak için , bobinde elektrik olduğundan emin olduktan sonra dişli modellerde koruyucu başlığı sökünüz ve kurma kolunu çekiniz.İşlem tamamlanınca başlığı tekrar takınız. flanşlı modellerde koruyucu başlığı sökünüz ve ters çevirip sıkarak yukarı çekiniz.İşlem tamamlanınca başlığı tekrar ilk haline getiriniz.
Teknik Özellikler
|
Besleme gücü |
: |
230 Vac, 24 Vac , 12 Vdc |
|
Gövde |
: |
½” , ¾” , 1” , 1 ¼” , 1 ½” , 2” pirinç
DN65 ,DN80 ,DN100,DN125,DN150 alüminyum |
|
Maksimum basınç |
: |
6 bar (DN 125 ve DN150 için 2 bar) |
|
Kapatma süresi |
: |
≤ 1sn. |
|
Çalışma sıcaklığı |
: |
-15°C…+70°C |
|
Koruma sınıfı |
: |
IP 65 |
|
Dişli bağlantı |
: |
ISO 228/1 |
|
Flanşlı bağlantı |
: |
UNI 2223 |
|
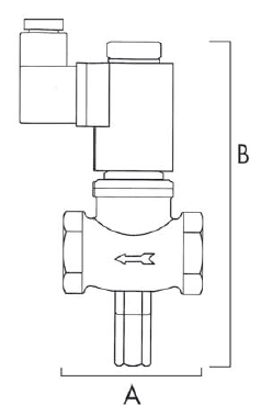
Kod |
Çap |
Bağlantı |
Ölçüler (mm) |
|
A |
B |
|
23501/6 |
½” |
Dişli |
86 |
165 |
|
23501/6-12 |
½” |
Dişli |
86 |
165 |
|
23502/6 |
3/4" |
Dişli |
86 |
165 |
|
23502/6-12 |
3/4" |
Dişli |
86 |
165 |
|
23503/6 |
1" |
Dişli |
93 |
175 |
|
23503/6-12 |
1" |
Dişli |
93 |
175 |
|
23601/6 |
1 ¼” |
Dişli |
114 |
200 |
|
23601/6-12 |
1 ¼” |
Dişli |
114 |
200 |
|
23602/6 |
1 ½” |
Dişli |
114 |
200 |
|
23602/6-12 |
1 ½” |
Dişli |
114 |
200 |
|
23603/6 |
2” |
Dişli |
138 |
210 |
|
23603/6-12 |
2" |
Dişli |
138 |
210 |
|
23701/6 |
DN65 |
Flanşlı |
246 |
395 |
|
23701/6-12 |
DN65 |
Flanşlı |
246 |
395 |
|
23702/6 |
DN80 |
Flanşlı |
265 |
395 |
|
23702/6-12 |
DN80 |
Flanşlı |
265 |
395 |
|
23703/6 |
DN100 |
Flanşlı |
265 |
420 |
|
23703/6-12 |
DN100 |
Flanşlı |
265 |
420 |